Узнайте, какой прерыватель цепи замыкания на землю (GFCI). Прерыватель замыкания на землюУзнайте, какой прерыватель цепи замыкания на землю (GFCI)Прерыватель цепи замыкания на землю — это электрическое устройство, установленное для защиты от сильного электрического удара. GFCI может также уменьшить электротоки и минимизировать электрические ожоги и удары от ударов. GFCI, который не следует путать с AFCI, объединяет защиту от замыканий на землю в емкостях, где электрооборудование находится вблизи воды или может контактировать с водой. Прерыватель цепи замыкания на землю также обнаруживает замыкания на землю и прерывает поток электрического тока. GFCI не используется и не может использоваться для замены предохранителя и НЕ защищает от перегрузок цепи, коротких замыканий или ударов.Как работает GFCI? Нормальный выход на 120 вольт имеет два вертикальных паза и круглое отверстие под ними или по бокам. Обычно левый слот больше правого, и он соответствует нейтрали, а правый слот называется горячим. Круглое отверстие — это «земля». Когда розетка работает правильно, электричество течет от горячего до нейтрального, и именно тогда GFCI вступает в действие. GFCI измеряет ток, протекающий от горячего до нейтрального, поэтому цепь может отключиться и отключиться. При правильной установке GFCI может обнаруживать изменения размером до 4 миллиампер, и он быстро срабатывает, менее чем за секунду, отключая электричество. Где установить GFCIВ соответствии с национальным электрическим кодексом требуется GFCI и требуется:
Портативная защита GFCI также может потребоваться всякий раз, когда электрооборудование используется в садовых работах и при использовании электрических инструментов внутри и вокруг дома. Три типа GFCIGFCI можно найти тремя разными способами. Наиболее распространенным является приемник GFCE, очень похожий на общий настенный розетка, очень дешевый и простой в установке. Портативный GFCI может быть подключен к стандартной розетке, обеспечивающей необходимую защиту, а временная — подключающая вилка, которая может использоваться для обеспечения требуемой защиты, но не заменит требования постоянного. При использовании на открытом воздухе переносная и временная должны быть водонепроницаемыми и обозначены для использования на открытом воздухе изготовителем. Иногда вам необходимо установить новый GFCI, где была установлена старая незащищенная емкость. Эти сосуды можно заменить одним из следующих: Другой сосуд без заземляющего типа.GFCI-приемник, если он обозначен как «No Equipment Ground».Розетка заземляющего типа, если GFCI защищен и отмечен «Защищенный GFCI» и «Нет заземления оборудования». Что делать, если отключается GFCI?В некоторых случаях GFCI отключается, но это не означает, что с установкой что-то не так. Если GFCI установлен в цепях длиной более 100 футов, может быть одной из причин, по которым ваш прерыватель отключается. Другая проблема может возникнуть, когда в цепи много сращиваний, люминесцентных осветительных приборов или постоянно установленных электродвигателей, так как это может привести к отключению GFCI. Перед установкой GFCI потеря мощности может быть рассмотрена при использовании защиты с помощью морозильников, элементов управления дверью гаража и других. Имейте в виду, что во время установки линии и / или нагрузки правильно приземляются, чтобы гарантировать, что устройство будет работать правильно, если нет, GFCI не будет сброшен, поэтому убедитесь, что соединения правильные. GFCI — это не то же самое, что ACFI. AFCI используется для устранения пожаров, в то время как GFCI установлен для предотвращения опасности удара. Мы ожидаем, что в ближайшее время у нас будут комбинированные устройства, включая защиту AFCI и GFCI в одной части. www.norma-stab.ru Монтаж прерывателя защиты замыкания фазы на землю
Рис. 93. Установка прерывателя защиты вместо последней в цепи розетки: 1 — прерыватель защиты; 2 — провода заземления; 3 — провода, завершающие контур
Прерыватель защиты замыкания фазы на землю обязательно следует монтировать в сети, чтобы обезопасить себя и своих близких от удара током. Прерыватель защиты можно установить в середине или в конце цепи. Порядок работы должен быть следующим:— отключить контур и проверить его тестером напряжения, чтобы убедиться, что он действительно отключен;
— снять крышку, отвинтить крепеж и вынуть розетку из коробки;— отсоединить провода;— подсоединить фазовый провод к латунному винту;— присоединить нулевой провод к луженому винту;— присоединить провод заземления к контакту (рис. 93).
Похожие материалы Виды осветительных ламп Как снять изоляцию и подготовить жилы к соединению Как повесить люстру на потолок. Видео Как правильно установить новую розетку. Видео Устройство защитного отключения УЗО (подключение, видео, типы) Подключение люминесцентных ламп (дневного света) схема, устройство, видео Установка дверного звонка. Видео и схемы Как соединить провод СИП с медным кабелем. Видео. Способы. Инструкция Нюансы установки новых осветительных приборов (схемы) Прерыватель защиты Инструменты для электромонтажных работ Автоматический предохранитель
Электроприемники однофазного и трехфазного тока. Их основные характеристики Типы вводов электроэнергии в дом Как установить кондиционер своими руками. Видео Как сделать контур заземления для дома самостоятельно Как правильно подключить электросчетчик. Видео Замена осветительной арматуры Тросовая электропроводка Как сделать молниеотвод, молниезащиту. Защита от грозы. Видео Распределительный (квартирный) щиток. Видео, схема и подключение Распределительные контуры и коробки. Схема и монтаж Автоматические выключатели (ВА). Типы, серии, расчет Как правильно сделать электропроводку в квартире своими руками: схема, видео, фо Подключение галогенных ламп. Видео Виды соединения проводов Монтаж скрытой проводки своими руками. Видео Монтаж прерывателя защиты в середине контура Установка встраиваемых точечных светильников. Видео
Виды расключений Работы с распределительными коробками Отводы с высоковольтных линий электропередач Дополнительные электромонтажные изделия Как установить датчик (детектор) движения. Видео Как провести электропроводку в частном доме своими руками. Схема. Видео Пробки и плавкие вставки (предохранители). Расчет и характеристики Дифференциальный автомат (дифавтомат) АД. Схемы, типы, видео Провода, шнуры и кабели. Характеристики и использование Как сделать монтаж открытой (внешней) проводки Установка (монтаж) выключателей. Видео, схема и правила Load More... Способ и устройство для защиты при электрическом замыкании на землюИспользование: для защиты людей от токов утечки при пользовании электроприборами, такими как бытовые электроприборы или др. Технический результат заключается в повышении надежности и чувствительности защиты при обеспечении самодиагностики и полной автоматизации. Устройство (1) содержит дифференциальный прерыватель (20), нормально разомкнутый, и дифференциальный трансформатор (39) тока, генерирующий сигнал, пропорциональный току утечки, блок (50) обработки данных, связанный с трансформатором (39), регистрирует указанный сигнал и удерживает прерыватель (20) замкнутым до тех пор, пока не возникнет опасное условие, при котором зарегистрированный сигнал по величине превосходит некоторую предельную величину. 4 н. и 22 з.п. ф-лы, 4 ил.
Изобретение относится к способу защиты от токов утечки и устройству для осуществления этого способа. Известно, что при использовании приборов, питающихся от электросети и находящихся в прямом контакте с человеком, всегда высок риск удара током; по этой причине меры безопасности требуют применения различных защитных устройств, отключающих приборы от сети. Обычно в однофазных системах электрический прибор (то есть, вообще говоря, нагрузка) питается от потребительской электросети (также называемой магистральной) посредством двух проводов. Один из них называется «горячий» или «фаза», другой - «нуль». Обычно в распределительных ячейках заземляется нулевой провод. Наиболее частые случаи травматизма происходят, когда люди пользуются приборами, подключенными к электросети, во время принятия ванны или в бассейне. Вода становится проводником тока, называемого током утечки, или короткого замыкания на землю, который течет от «горячего» провода в землю. Если этот ток протекает через тело человека, может произойти удар током. Подобное случается, когда человек контактирует с «горячим» проводом во время соприкосновения с проводящей поверхностью при заземлении. Изготавливаемые в промышленности схемы защиты от подобного рода опасностей, называемые GFCI (прерыватели тока при электрическом замыкании на землю), содержат дифференциальный трансформатор тока, в котором первичная обмотка состоит из горячего и нулевого проводов, а вторичная обмотка соединена с усилительной ступенью. Если текущий по горячему проводу ток достигает нагрузки и возвращается через нулевой провод без утечки в землю, то не возникает магнитодвижущей силы в сердечнике трансформатора для индуцирования вторичного тока. Напротив, если ток утечки присутствует, то ток, пропорциональный разнице между токами в горячем и нулевом проводах, генерируется во вторичной обмотке; этот сигнал усиливается, затем сравнивается с предельно допустимым и при превышении прерыватель цепи отключает нагрузку от горячего и нулевого проводов. Поскольку эти приспособления защищают бытовые электроприборы в целом, их чувствительность ограничивается 30 мА, при этом не учитываются малые паразитные токи утечки, естественно присутствующие в электроприборах. При применении электроприборов или ручных электроинструментов в определенных условиях, то есть при повышенной влажности, а также в случае контакта с водой в трубопроводах или санитарно-технических устройствах, в целях обеспечения безопасности следует применять цепи защиты с более высокой чувствительностью, способные помещаться в вилке подключения к электросети. В этом случае следует использовать приборы, чувствительные к токам 3 мА и ниже. Уровень опасного тока зависит от типа сухих элементов и стандартов, установленных для медицинских приборов, где электроды находятся в контакте с пациентом и требуется пороговое значение тока максимум 3 мА для цепи защиты, тем не менее, даже токи менее 1 мА могут быть опасными, если включение защитной цепи не гарантирует прерывания тока до наступления опасности. Защитная цепь с такой высокой чувствительностью может гарантировать безопасность оператора, но только при условии ее надежного функционирования. Для проверки надежной работы защитной цепи современные электроприборы снабжены контрольной кнопкой, нажатие которой позволяет имитировать токи утечки, немного превышающие чувствительность цепи, в силу чего включается защитная цепь. Однако бремя такой проверки ложится на пользователя, который каждый раз должен включать прибор в сеть, нажимать кнопку контроля, потом снова переключать цепь. Система защиты должна быть независимой от действий пользователя и обеспечивать высокую степень надежности. Состояние области техники можно охарактеризовать, раскрыв сущность некоторых решений. В патенте США 5982593 предложен прерыватель цепи, включающий в себя защиту от короткого замыкания на землю, такая защита снабжена проверочной цепью для проверки безопасной работы самой защитной цепи; однако такая проверочная цепь запускается кнопкой контроля. Патент США 6426632 предлагает систему генерирования синусоидальных сигналов тока для контроля защиты от короткого замыкания арки дуги и кратко описывает использование микропроцессора для определения вторичного тока дифференциального трансформатора и сравнения его с пороговым значением, сформированным в микропроцессоре. Если этот ток превышает пороговое значение, микропроцессор посылает сигнал, при котором срабатывает реле и разрывает связь с электросетью. Однако детально не описано, каким образом микропроцессор и относящиеся к нему цепи выполняют эту функцию, а также не даны ссылки на то, какие еще функции выполняются микропроцессором. В патенте США 5875087 предлагается прерыватель для управления током, текущим от электросети к нагрузке. Микропроцессор используется для сравнения этого тока с параметрами, сформированными в микропроцессоре, и генерирования сигнала управления для прерывания цепи. В этом случае микропроцессор обеспечивает контроль надежной работы только соседних цепей, а не системы защиты в целом, а также не предусмотрена калибровка системы. Патент США 6262871 предлагает использование электронной цепи для автоматического контроля GFCI; важное свойство этого изобретения состоит в том, что она должна быть соединена с уже реализованным GFCI или должна содержать основные его компоненты. Циклически исследуются искусственные токи утечки, вырабатываемые микропроцессором, и сигнал, генерируемый GFCI: если эти сигналы в норме, контроль завершается, в противном случае нагрузка с помощью GFCI отключается от электросети путем размыкания второго прерывателя, который должен быть дополнительно включен в систему. Недостатками такого решения являются избыточное резервирование цепей, т.к. GFCI усложнена функциями, которые уже имеются, т.е. недостаточно эффективно работает автоматика; более того, не всегда легко определить критические величины выбранного напряжения, а также возрастает расход проводов и стоимость системы. Конструкция GFCI, на которой основано изобретение, рассматривается как известная априори. При изменении конструкции система в соответствии с данным изобретением должна быть полностью переделана. Таким образом, на современном этапе развития техники не существует GFCI, которые одновременно: - не нуждаются в участии человека, будучи полностью автоматическими; - обладают высокой чувствительностью к токам утечки; - имеют малый размер и настолько компактны, что могут помещаться в любой вилке, розетке или элементе шунта; - включают в себя функции самоконтроля при их безопасной работе или в течение этапа инициализации при включении GFCI, или периодически после подключения нагрузки к электропитанию; - показывают пользователю тип сбоя; - позволяют подключение к электросети только после проверки правильной и эффективной работы защиты; - благодаря калибровке сигнала в цепи выявления тока утечки работают независимо от ее исполнения и способны компенсировать ее погрешности; - отключают нагрузку от сети при возникновении опасных токов утечки. Основная цель настоящего изобретения состоит в обеспечении GFCI, обладающего вышеописанными свойствами. Эта цель достигается, когда GFCI осуществляется в соответствии с формулой изобретения. Все преимущества GFCI в соответствии с настоящим изобретением станут понятными из описания предпочтительного, но не единственного варианта реализации, пример которого приведен ниже со ссылкой на сопровождающие его чертежи, где: на фиг.1 изображена блок-схема GFCI в соответствии с настоящим изобретением; на фиг.2 - детальная электрическая схема GFCI, представленного на фиг.1; на фиг.3 - схема варианта цепи, представленной на фиг.2; на фиг.4 - схема другого варианта цепи, представленной на фиг.2. Изобретение описывается для бытового прибора, а именно для фена, хотя его применение этим не ограничивается, оно может быть использовано также в промышленных целях. В частном случае осуществления изобретения, что не ограничивает рамки изобретения, GFCI помещается в вилку на конце провода фена; возможен вариант его размещения в стенной розетке, куда вставляется вилка фена. Обратимся к фиг.1, на которой показана блок-схема GFCI 1, однофазная электросеть 10; горячий проводник 12 и нулевой проводник 14 с заземлением соединяют сеть 10 с контактами 22а, 22b реле 20. В качестве прерывателей цепи могут быть использованы управляемые выключатели другого вида, например полупроводниковые приборы. Когда реле 20 срабатывает, контакты 22а, 22b соединяются с клеммами 24а, 24b, которые через проводники 12а, 12b соединяются с клеммами фена 16. Проводники 12, 14 входят в состав цепи обнаружения тока утечки в самих проводниках 12, 14, дифференциальный трансформатор тока 30 выполнен на тороидальном сердечнике с известными характеристиками. Первичная обмотка трансформатора состоит из проводников 12, 14, вторичная обмотка схематически показана под цифрой 32. Для обнаружения прямых токов утечки может быть использован, например, зонд (пробник) или изделие LEM. Проверочный генератор 40 шунтирует проводники 12, 14 посредством проводников 42, 44. Назначение генератора 40, как это будет подробнее объяснено в дальнейшем описании, состоит в том, чтобы искусственно индуцировать точно известное значение тока, протекающего в проводниках 42, 44, а следовательно, в проводниках 12, 14. Поскольку указанный ток является дифференциальной составляющей для трансформатора 30, он будет выявлять ток, генерируя вторичный сигнал, пропорциональный току. Этот сигнал обрабатывается с помощью логического блока 50, к которому подключается вторичная обмотка 32, после усиления, как это будет понятно в дальнейшем; логический блок 50 также подключается к проверочному генератору 40 и реле 20, на которые он подает сигналы управления и/или включения посредством проводников 36 и 38 соответственно. Также блок 50 содержит, по меньшей мере, арифметический модуль для выполнения двоичных операций, ОЗУ, ПЗУ и аналого-цифровой преобразователь (все не показаны). На фиг.2 представлена подробная электрическая схема GFCI 1 согласно изобретению, при этом сохраняются соответствующие ссылки фиг.1. Однофазная электросеть 10 соединена через два плавких предохранителя 11 проводниками 12 и 14 с контактами 22а и 22b реле 20; когда катушка индуктивности 21 реле 20 срабатывает, контакты 22а и 22b замыкают клеммы 24а и 24b, от которых два провода 12а и 12b подключаются к выводам фена 16. Компоненты данного варианта реализации настоящего изобретения размещены внутри сетевой вилки 55 фена 16 и схематически изображены пунктирными линиями на фиг.2. Как видно из этой фигуры, проводники 41, 42, соединенные с проверочным генератором 40 (показан внутри пунктирных линий), и проводник 45 шунтируют проводники 12, 14 электросети 10. Резистивно-емкостная схема 46, изображенная внутри пунктирных линий, соединена проводником 45 с выпрямительным мостом 47, который напрямую связан с сетью 10 проводником 44. Выход моста 47 фильтруется электролитическим конденсатором 48 и сглаживается стабилитроном 49, в этом случае напряжение составляет 30 В. Это напряжение является первым источником питания для GFCI 1. Положительная клемма конденсатора 48 соединена проводом 200 с эмиттерами двух PNP транзисторов 60, 70, отрицательная клемма - с проводом 100, который является землей для GFCI 1. Такое название - земля 100 - используется в дальнейшем. Резистор 61 включен между эмиттером и базой транзистора 60, его база соединяется через ограничительный резистор 62 с коллектором npn транзистора 80, эмиттер которого соединен с землей 100, а база через резистор смещения 63 проводом 38 - к выходному выводу логического блока 50. В качестве такого блока может быть использован, например, микроконтроллер Моторола MC 908Q2. Коллектор транзистора 60 связан с катодом обратного диода 64, анод которого соединен с землей 100, с резистором 65 смещения базы транзистора 70 и выводом катушки 21 реле 20. Другой вывод катушки 21 соединен параллельно регулировочному стабилитрону 92 и фильтрующему конденсатору 91, которые своими отрицательными выводами соединены с землей 100, а положительными - к проводнику 110, образующему положительный выход второго источника напряжения (в этом случае 5,1 В) для питания логического блока 50 и операционного усилителя 90 (например, LPV3212). Проводник 110 замыкается через ограничительный резистор 71 коллекторным током транзистора 70, с которым соединен конденсатор Миллера. Выход 90u усилителя 90 соединен с входом блока 50 и с соединенными звездой сопротивлениями обратной связи 74, 75, 76; последовательно соединенные первые два резистора соединены с инвертированным входом усилителя 90, третий резистор подсоединяет общую точку резисторов 74, 75 к резистивному делителю, шунтирующему второй источник напряжения, равного 5,1 В. Делитель состоит из двух последовательно соединенных равных резисторов 77а, 77b, общая точка которых соединена с резистором 76. Два шунтирующих конденсатора 78, 79 включаются параллельно резисторам 77а, 77b соответственно. Инвертируемый и неинвертируемый входы усилителя 90 соединены соответственно с резистором 82 и разделительным конденсатором 83, последовательно включенными, и резистором 84. С помощью этих компонентов снимается напряжение с резистора 85 нагрузки, соединенного последовательно с выводами 32а, 32b вторичной обмотки 32 трансформатора 30. Вывод резистора нагрузки 85 также соединен с выходом делителя, состоящего из резисторов 77а, 77b. Компоненты цепи проверочного генератора 40 представлены внутри пунктирной линии. Высокоточный контрольный резистор 86 соединяет проводник 12 через проводник 42 с анодом симистора 88, катод которого соединен с проводом 14 через провод 44. Резистор 86 шунтирует проводник 12 в точке разветвления трансформатора 30 таким образом, что ток, протекающий в резисторе 86, возвращается к сети 10 по проводникам 44 и 14, не протекая через тороидальный сердечник трансформатора 30. Проводник 44 фактически соединяет проводник 12 с входом трансформатора 30. Также возможны другие расположения проводников, поскольку ток через резистор 86 необходим только для его детектирования трансформатором 30. Параллельно резистору 86 подсоединен другой корректирующий резистор 87, который шунтирует проводник 12 через проводник 41, идущий на вход трансформатора 30. Между сеткой и катодом симистора 88 включен резистор 89. К сетке подсоединены последовательно включенные резистор 101 и диод 104 и последовательно соединенные резистор 103 и диод 102, причем сетка соединена с анодом диода 102. Диоды 104 и 103 включены встречно-параллельно. Резистор 103 соединен с коллектором NPN транзистора 105, а эмиттер транзистора 105 соединен с землей 100, а базовое смещение через резистор 106 подается от выходного вывода блока 50. К этому выводу также подключен анод диода 104, который соединен последовательно с резистором 101. Оба вывода логического блока 50 питают два последовательно соединенных резистора 111, 113 и соответственно светодиоды 112, 114. Благодаря светодиодам логический блок 50 способен обеспечить визуальный сигнал тревоги для пользователя GFCI 1. Для высвечивания тревожного сигнала светодиод 112 дает зеленый цвет, а светодиод 114 - красный. Возможно применение акустического сигнала тревоги, например зуммера. Два последовательно соединенных резистора 28, 29 формируют делитель, одним концом соединенный с землей 100, а другим - с понижающим резистором 46, подающим импульсы напряжения прямоугольной формы с частотой электросети 10 на вывод блока 50, которые блок 50 использует для внутренней синхронизации путем подсчета циклов (20 мс при частоте сети 50 Гц и 16,6 мс при частоте 60 Гц). Другим источником внутренней синхронизации может служить сигнал прямоугольной формы, полученный из тактовых импульсов блока 50 и должным образом уменьшенный делителями. Стадии работы GFCI 1 описываются с момента включения, когда пользователь вставляет вилку 55 в розетку, до устойчивого режима, когда он может безопасно пользоваться феном 16. Эти стадии следующие. 1. Пользователь вставляет вилку 55 в соответствующую розетку. Реле 20, нормально разомкнутое, не срабатывает, пока фен 16 не подключен к электросети 10, а потому не работает. Через диодный мост 47 конденсатор 48 заряжается и напряжение на его выводах стабилизируется, пока не достигнуто напряжение пробоя стабилитрона 49. Транзистор 60 заперт, так как не подано смещение транзистором 80, также запертым, поскольку блок 50 не подает смещение на базу через резистор 63. Транзистор 70, напротив, насыщается благодаря прохождению базового тока через резистор 65, через катушку 21 реле 20 и стабилитрон 92. Этот ток базы недостаточен для срабатывания реле 20. Через резистор 71, стабилитрон 92 происходит насыщение транзистора 70, напряжение которого фильтруется емкостью 91 и прикладывается к усилителю 90 и логическому блоку 50. 2. Поскольку через фен 16 ток не протекает, и соответственно ток не протекает по первичной и вторичной обмотке трансформатора 30, следовательно, нет напряжения на резисторе 85. Поэтому выход 90u сохраняет установившееся значение, установленное делителем, сформированным из резисторов 77а, 77b, равное половине приложенного напряжения. Блок 50 осуществляет последовательную дискретизацию через свой внутренний аналого-цифровой преобразователь A/D (8 бит в этом варианте) выходного напряжения 90u усилителя 90, усредняя дискретные значения с помощью его внутреннего цифрового модуля по 65536 (216) выборкам; выполнение этой операции занимает меньше секунды. Среднее значение величины должно быть 127, а именно половина полной шкалы с отклонениями 3 бита в пределах допуска. Эта величина получается, если с делителя, состоящего из резисторов 77а, 77b, снимается номинальное напряжение, равное половине приложенного напряжения. Если требуемая величина выходит за пределы этого диапазона, стадия 2 повторяется сначала, в противном случае следует стадия 3. На этой стадии оба светодиода 122 и 114 включены. 3. Блок 50 сохраняет усредненную величину, полученную на стадии 2, и дискретизирует выходное напряжение 90u усилителя 90 для следующих 65536 тактов; усредненная величина вычисляется так же, как на стадии 2. Полученная средняя величина должна быть равной предшествующей с максимальной разницей 1 бит, иначе система возвращается к стадии 2. Это гарантирует, что второе напряжение питания стабильно и аналого-цифровой преобразователь работает должным образом. Усредненная величина, вычисленная на этой стадии, сохраняется в блоке 50 и принимает опорное значение для аналого-цифрового преобразователя. Светодиоды 112 и 114 сохраняются включенными. 4. Блок 50 осуществляет режим выборки выходного напряжения 90u усилителя 90: вычисляется абсолютное значение разницы между дискретизированным выходным напряжением 90u усилителя 90 и опорной величиной, сохраненной на стадии 3. Из всех этих обработанных величин сохраняется максимальная, и после задержки на несколько циклов сети 10 блок 50 проверяет, что упомянутая максимальная величина ниже 2, то есть только наименее значимый бит меняется в аналого-цифровом преобразователе. Это гарантирует, что шум системы достаточно низкий и не препятствует работе GFCI 1; если это условие не выполняется, блок 50 возвращается к стадии 1. В течение этой стадии оба светодиода горят. 5. Блок 50 подает положительное напряжение смещения по проводнику 36 на транзистор 105 через сопротивление 106 и насыщает его. База симистора 88 через последовательно включенные диод 104 и резистор 101 насыщается во время прохождения положительной полуволны напряжения электросети 10 по проводнику 12. Во время прохождения отрицательной полуволны цепь тока смещения симистора 88 включает в себя диод 102, резистор 103 и транзистор 105; в обоих случаях ток протекает через резистор 89 и симистор 88 включен. 6. Открытое состояние симистора поддерживается для двух циклов напряжения сети 10: когда симистор открыт, контрольный резистор 86, величина которого должна быть очень точной, создает разностный ток для трансформатора 30, который выявляет его и индуцирует ток во вторичной обмотке 32, тем самым формируя напряжение на резисторе 85. Это переменное напряжение усиливается операционным усилителем 90 и снимается с его выхода 90u. Блок 50 дискретизирует сигнал напряжения, как в предшествующих стадиях, и преобразовывает его в цифровое значение с помощью внутреннего аналого-цифрового преобразователя, запоминая максимальное значение. Затем блок 50 проверяет, что максимальная величина находится между верхним и нижним пределами, оба предварительно запоминаются в ПЗУ блока 50. Это необходимо для того, чтобы гарантировать, что цепь для определения разностных токов в целом находится в рабочем состоянии и обладает приемлемой чувствительностью. Если максимальная дискретная величина слишком низкая, зеленый светодиод 112 вспыхивает в течение короткого времени и система начинает работать снова со стадии 2. Если же максимальная дискретная величина слишком высокая, вспыхивает красный диод 114 и система опять начинает работать со стадии 2. Если максимальная дискретная величина приемлема, то она запоминается как проверочная, задаваемая GFCI 1, и осуществляется переход к следующей 7-ой стадии. 7. Блок 50 подает положительное напряжение смещения по проводнику 38 с помощью резистора 63 смещения на транзистор 80, который насыщается. Ток способен протекать от первого источника питания 30 В на землю 100 через резисторы 61, 62, насыщая транзистор 60 и запитывая катушку индуктивности 21 реле 20 от первого источника питания. Теперь через катушку 21 может протекать ток достаточной величины для срабатывания реле 20, которое обеспечивает подключение фена 16 к сети, что позволяет его использовать. В это же самое время блок 50 постоянно включает зеленый диод 112 и выключает красный диод 114. 8. После срабатывания реле 20 и подачи питания к фену 16 от сети 10 блок 50 продолжает контролирование выходного напряжения 90u операционного усилителя 90 так же, как на предыдущих стадиях. В частности, после преобразования выходного напряжения 90u в цифровой ряд с помощью аналого-цифрового преобразователя блок 50 вычитает его максимальную величину для опорной величины, затем вычисляя модуль (или абсолютную величину), получает максимальную величину действительного тока утечки. Если этот максимум для более чем 10 последовательных тактов, т.е. для 10 регистраций (выполненных примерно за 0,1 мс), больше предельной величины, в этом случае это величина, запомненная в конце стадии 6, т.е. проверочная величина, блок 50 снимает напряжение с резистора 38, тем самым размыкается реле 20 и происходит отключение фена 16 от электросети 10. Логический блок 50 сигнализирует об опасности вспышкой красного светодиода 114. В условиях опасности GFCI 1 остается заблокированным, тем самым предотвращая срабатывание реле 20, и может быть активизирован только повторным выключением и включением. Это означает, что пользователь должен вынуть вилку 55 из стенной розетки, устранить неполадки, служащие причиной для отключения GFCI 1, и снова подсоединить вилку 55. С этого момента GFCI 1 начнет работать со стадии 1. На стадии 8, то есть когда фен 16 включен, можно выполнять периодические контрольные измерения, как на стадиях 5 и 6, чтобы обеспечить хорошую работу GFCI 1. В этом случае во время проверки, то есть когда выполняются операции, описанные на стадиях 5 и 6, для гарантирования безопасности пользователя допустимая (для не размыкания реле 20) максимальная величина на выходе 90u операционного усилителя 90, то есть предельная величина, удвоена. Согласно вышеописанному следует, что преимуществом настоящего изобретения является простота установки порога срабатывания GFCI 1, то есть с помощью изменения величины проверочного резистора 86. Поскольку пороговое значение не является фиксированной величиной, которая априори хранится в блоке 50, а представляет собой реальный заданный ток, который должен быть определен GFCI 1 на стадии инициализации, GFCI 1 обеспечивает контроль даже при очень низком пороге срабатывания для GFCI 1. В этом случае подключаемая нагрузка будет оставаться отключенной. Другим преимуществом настоящего изобретения является простота, с которой возможно добавлять другие виды оперативной защиты, такие как защита от короткого замыкания или разрядной дуги. Короткое замыкание имеет место, когда проводники 12а и 12b на фиг.2 контактируют между собой даже временно или когда величина импеданса нагрузки очень низкая, например когда пользователь касается проводников 12а и 12b. В этот момент по проводникам 12а и 12b протекает высокий ток, являющийся смертельным. Предохранители 11 (см. фиг.2) не дают гарантии быстрого размыкания цепи. Это неудобство может быть устранено путем реализации варианта настоящего изобретения, изображенного на фиг.3, на котором показаны пронумерованные добавленные компоненты, при этом остальная часть цепи аналогична описанной выше. В этом варианте защита от токов короткого замыкания осуществляется за счет введения трансформатора 300 тока на проводник 14. Введение трансформатора 300 может быть осуществлено также на проводнике 12 или на выходе реле 20; первичной обмоткой трансформатора 300 служит проводник 14, а вторичной с центральным отводом - вторая обмотка 330. Центральный отвод соединен с резистором 111a c очень низким значением сопротивления (несколько Ом), второй вывод которого соединен с анодами двух диодов 310, 311, при этом катоды этих диодов соединяются с выходами вторичной обмотки трансформатора 300. Резистор 111, который на фиг.2 соединен напрямую со светодиодом 112, в данном случае соединяется с точкой объединения катодов диодов 310, 311; проводник 320 соединяет центральный отвод вторичной обмотки 330 трансформатора 300 со светодиодом 112, с которым резистор 111b, имеющий относительно высокое сопротивление (около 10 кОм), соединен параллельно. Напряжение на вторичной обмотке 330 трансформатора 300 тока выпрямляется диодами 310 и 311, таким образом осуществляется протекание через резистор 111a импульсного сигнала, пропорционального току, протекающему по проводнику 14. Работа цепи заключается в следующем. Вывод блока 50, с которым соединен резистор 111, в данном случае обозначенный АО, используется в процессе инициализации как выход и запускает красный светодиод 112 через резистор 111 (как уже было описано) и резистор 111a, в то время как резистор 111b не влияет на работу красного светодиода 112. В конце фазы инициализации красный светодиод 112 выключается, и вывод АО становится аналоговым входом благодаря надлежащим командам программы блока 50. Затем происходит дискретизирование приложенного напряжения с помощью аналого-цифрового преобразователя и измеряется косвенным образом ток, питающий нагрузку с помощью трансформатора 300 тока: блок 50 обеспечивает размыкание реле 20, как уже описано, в случае, когда ток по проводнику 14 превышает установленное пороговое значение, тем самым гарантируя защиту от короткого замыкания. Второй вариант устройства в соответствии с настоящим изобретением представлен на фиг.4, во многом подобный 1-му варианту, для простоты обозначены лишь новые позиции, а остальные - те же самые, что и в предшествующем описании. На проводник 12b, соединенный с нагрузкой, введен трансформатор 3001 тока, который может быть также внесен на проводник 12а или на выход (реле) прерывателя 20; первичная обмотка трансформатора 3001 выполнена с помощью проводника 12b, вторичная - с помощью вторичной обмотки 3301. Резистор 1111а с очень низким сопротивлением (несколько Ом) соединен с выводами вторичной обмотки 3301. Резистор 111, который на фиг.2 соединен со светодиодом 112, в данной схеме соединен с резистором 1111а, который запитывает анод светодиода 112. Его катод соединен с коллектором транзистора 370, эмиттер которого соединен с землей 100, а смещение базы осуществляется за счет делителя, образованного из двух резисторов 346, 344, и запитывается от коллектора транзистора 70. Параллельно транзистору 370 подключается емкость 340, а коллектор транзистора 370 соединяется с выходом 90u операционного усилителя 90 через резистор 342. Узел, состоящий из резистора 342 и емкости 340, формирует низкочастотный фильтр для напряжения на выходе 90u усилителя 90, в силу этого поддерживая на коллекторе транзистора 370 постоянное напряжение, равное половине напряжения второго источника питания. Работа цепи заключается в следующем. Во время инициализации вывод АО блока 50 используется в качестве выхода и запускает красный светодиод 112, как уже описывалось, через резистор 111 и резистор 1111а, в то время как транзистор 370 насыщается, поскольку транзистор 70 также насыщен и реле 20 не включено и позволяет включение светодиода 112. В конце стадии инициализации красный светодиод 112 выключается и вывод АО блока 50 становится аналоговым входом благодаря его программе. В это время транзистор 370 запирается, и включается реле 20 из-за запертого состояния транзистора 70; затем на коллекторе транзистора 370 будет присутствовать постоянная составляющая выходного напряжения 90u усилителя 90; это постоянное напряжение, которое суммируется с сигналом, генерируемым трансформатором 3001 через резистор 1111а, дискретизируются аналого-цифровым преобразователем, и, следовательно, блок 50 косвенным образом может измерять ток, потребляемый нагрузкой. Считывание напряжения на выводе АО выполняется таким же образом, что и считывание выходного напряжения 90u усилителя 90: абсолютная величина разницы между напряжением на выводе АО и опорным напряжением (сохраняемая как опорная величина во время описанной выше стадии 4) сравнивается с предельной величиной, сохраняемой в ПЗУ блока 50, и при превышении реле 20 размыкается, тем самым отключая нагрузку 16. Незначительные отклонения от описанных выше способа защиты и относящейся к нему электронной схемы включены в объем формулы изобретения. 1. Способ защиты от токов утечки, генерируемых при снабжении питанием нагрузки (16), соединенной с электрической сетью (10), включающий в себя следующие стадии: а) получение опорной величины перед подключением нагрузки к сети путем получения один или более раз сигнала с выхода (90u) усилителя, пропорционального току утечки, без генерирования проверочного тока утечки; б) генерирование проверочного тока утечки для проверки эффективности и/или калибровки, получение соответствующего пропорционального ему сигнала с выхода (90u) усилителя в качестве проверочной величины и проверка условия, что эта проверочная величина находится в заранее установленном диапазоне; в) подключение нагрузки к сети, выявление истинных токов утечки и генерирование сигнала им пропорционального. г) получение сигнала на выходе (90u) усилителя, пропорционального истинным токам утечки, и отключение нагрузки (16) от сети (10) при возникновении опасного условия, при котором величина полученного сигнала превышает предельное значение, при этом предельное значение определяют как абсолютную величину разности между опорной величиной и проверочной величиной 2. Способ по п.1, характеризующийся тем, что стадии (а) и/или (б) выполняют перед подключением нагрузки (16) к сети (10). 3. Способ по п.1 или 2, характеризующийся тем, что на стадии (а) и/или (б) проверяют условие, что величина сигнала (90u) попадает в заранее установленный диапазон. 4. Способ по п.1 или 2, характеризующийся тем, что предельное значение определяют путем получения абсолютной величины разности между опорной величиной и проверочной величиной. 5. Способ по п.3, характеризующийся тем, что предельное значение определяют путем получения абсолютной величины разности между опорной величиной и проверочной величиной. 6. Способ по любому из пп.1, 2, 5, характеризующийся тем, что дополнительно включает стадию циклической проверки, заключающейся в том, что после подключения нагрузки (16) к сети (10) выявляют токи утечки путем генерирования, по меньшей мере, проверочного тока. 7. Способ по п.3, характеризующийся тем, что дополнительно включает стадию циклической проверки, заключающейся в том, что после подключения нагрузки (16) к сети (10) выявляют токи утечки путем генерирования, по меньшей мере, проверочного тока. 8. Способ по п.4, характеризующийся тем, что дополнительно включает стадию циклической проверки, заключающейся в том, что после подключения нагрузки (16) к сети (10) выявляют токи утечки путем генерирования, по меньшей мере, проверочного тока. 9. Способ по п.6, характеризующийся тем, что дополнительно включает стадию отключения нагрузки (16) от сети (10), когда в течение стадии циклической проверки выявления токов утечки максимальное значение по модулю полученного пропорционального сигнала с выхода (90u) усилителя больше суммы предельной и опорной величин. 10. Способ по п.7 или 8, характеризующийся тем, что дополнительно включает стадию отключения нагрузки (16) от сети (10), когда в течение стадии циклической проверки выявления токов утечки максимальное значение по модулю полученного пропорционального сигнала с выхода (90u) усилителя больше суммы предельной и опорной величин. 11. Способ по п.1, характеризующийся тем, что дополнительно включает стадию выявления тока, по меньшей мере, в проводнике, подсоединенном к нагрузке (16), и отключения нагрузки (16), когда этот ток превышает установленное пороговое значение. 12. Способ по п.11, характеризующийся тем, что стадию выявления тока, по меньшей мере, в проводнике, подсоединенном к нагрузке (16), выполняют до и/или после подключения нагрузки (16) к сети (10). 13. Устройство (1) для осуществления способа по пп.1-12, содержащее электрически управляемый прерыватель (20), установленный между сетью (10) и нагрузкой (16), который отключает нагрузку (16) от сети (10) в разомкнутом состоянии и подключает в замкнутом состоянии; средство (30) выявления токов утечки, которое генерирует сигнал, пропорциональный этим токам утечки; генератор (40) для формирования проверочного тока утечки; блок (50) обработки данных, соединенный со средством (30) выявления токов утечки для получения пропорционального сигнала, с генератором (40) для его управления и с прерывателем (20) для управления его размыканием с помощью управляющего сигнала (38) при возникновении опасного условия, характеризующееся тем, что блок (50) выполнен с возможностью при запуске устройства, до подключения нагрузки к сети, формирования опорной величины путем считывания информации со средства (30) выявления тока утечки без генерирования проверочных токов утечки, и генерирования проверочного тока утечки путем приведения в действие генератора (40), и получения соответствующего пропорционального ему сигнала в качестве проверочной величины, а затем после подключения нагрузки к сети, получения сигнала, пропорционального истинным токам утечки, и отключения нагрузки (16) от электросети (10) при возникновении опасного условия, при котором данный сигнал превышает предельную величину. 14. Устройство по п.13, характеризующееся тем, что содержит схему генерации стабилизированного питания блока (50) обработки данных, причем эта схема питается от электросети (10). 15. Устройство по п.13, характеризующееся тем, что средство (30) выявления токов утечки содержит дифференциальный трансформатор с сердечником, на котором намотана первичная обмотка из проводников (12, 14), питающих нагрузку (16), и вторичная обмотка (32), которая генерирует сигнал, пропорциональный току, протекающему в первичной обмотке. 16. Устройство по п.13, характеризующееся тем, что генератор (40) содержит резистор (86), последовательно соединенный с симистором (88), соединение с которым управляется сигналом (36), подаваемым от блока (50) обработки данных, при этом такое последовательное соединение шунтирует проводники (12, 14), подающие питание к нагрузке (16), с точками подключения на выходе и на входе средства (30) выявления токов утечки. 17. Устройство по п.13, характеризующееся тем, что блок (50) обработки данных управляет визуальными (112, 114) и/или звуковыми сигналами тревоги. 18. Устройство п.13, характеризующееся тем, что блок (50) обработки данных снабжен средствами (28, 29) синхронизации, выполненными с возможностью циклического управления величиной тока утечки до и/или после замыкания прерывателя (20). 19. Устройство по п.13, характеризующееся тем, что блок (50) обработки данных снабжен арифметическим модулем для сравнения величины сигнала, полученного с помощью средства (30) выявления токов утечки, с заранее установленными или полученными в реальном времени величинами. 20. Устройство по п.19, характеризующееся тем, что заранее установленные величины сохраняются в ПЗУ блока (50) обработки данных. 21. Устройство по п.13, характеризующееся тем, что дополнительно содержит средство (300, 3001) выявления токов, по меньшей мере, в проводнике, соединенном с нагрузкой (16), причем это средство (300, 3001) генерирует сигнал, пропорциональный этим токам, и соединено с блоком (50) обработки данных для управления работой прерывателя (20) при возникновении опасного условия. 22. Устройство по п.21, характеризующееся тем, что блок (50) обработки данных соединен со средством (300, 3001) для обнаружения токов, по меньшей мере, в проводнике, связанном с нагрузкой (16), или с прерывателем (20) для управления работой прерывателя (20) посредством управляющего сигнала (38) при возникновении опасного условия. 23. Устройство по п.13, характеризующееся тем, что при пуске блок (50) обеспечивает отключение нагрузки (16) от сети (10). 24. Электрический прибор, снабженный вилкой (55) для подключения к электросети (10), характеризующийся тем, что содержит устройство (1) защиты по любому из пп.13-23. 25. Электрический прибор по п.24, характеризующийся тем, что представляет собой фен или любой другой бытовой электрический прибор. 26. Штепсель для подачи питания к электрическим приборам, характеризующийся тем, что содержит устройство (1) защиты по любому из пп.13-23. www.findpatent.ru Защиты линий от замыканий на землю
Электрические сети напряжением 110 кВ и выше, как правило, выполняются с глухим заземлением нулевых точек трансформаторов. Такие сети являются сетями с большими токами замыкания на землю, так как в них к.з. на землю сопровождаются прохождением больших токов к.з., которые значительно превышают токи нагрузки и приводят к значительным разрушениям электрооборудования и понижению напряжения. Для защиты линий от к.з. на землю (однофазных и двухфазных) применяются специальные защиты, реагирующие на ток и напряжение нулевой последовательности. Необходимость установки на линиях специальной защиты нулевой последовательности вызвана тем, что однофазные к.з. на линиях являются преобладающими, а защита, включаемая на ток и напряжение нулевой последовательности, осуществляется наиболее просто и имеет ряд преимуществ по сравнению с рассмотренной ранее токовой защитой, реагирующей на полные токи фаз. Защиты нулевой последовательности выполняются в виде МТЗ и ТО. Напомним основные положения из метода симметричных составляющих, касающихся токов и напряжений нулевой последовательности, возникающих в сети при к.з. на землю. Сущность этого метода состоит в том, что любая 3-х фазная несимметричная система векторов токов или напряжений может быть заменена суммой 3-х симметричных систем:
Векторные диаграммы систем симметричных составляющих представлены на рис.4-1. Рис.4-1. Векторные диаграммы систем симметричных составляющих: а) прямой последовательности; б) обратной последовательности; в) нулевой последовательности. Из рис. 4-1 видно, что:
В нормальном симметричном режиме, а также при симметричном 3-х фазном к.з. полные токи и напряжения равны току и напряжению прямой последовательности, составляющие обратной и нулевой последовательности равны нулю. Составляющие обратной последовательности возникают в сети при любой несимметрии: 1 фазные к.з., 2-х фазные к.з., обрыв фазы, несимметричная нагрузка. Из теории симметричных составляющих при замыканиях на землю необходимо выделить следующие положения:
Например, при к.з. на фазе А токи в месте повреждения равны: ;
и т.к.
то (4-1) Напряжение повреждённой фазы в месте к.з. , т.к. эта фаза связана с землёй, поэтому напряжение нулевой последовательности: (4-2) При однофазном к.з. ток нулевой последовательности в месте повреждения равен 1/3 тока к.з. в той же точке и совпадает с ним по фазе, а напряжение нулевой последовательности равно 1/3 геометрической суммы напряжений неповрежденных фаз. Таким образом, в месте к.з. на землю проходит ток равный сумме токов нулевой последовательности I0 всех трёх фаз, который и является действительным током повреждения IK=3I0. Этот ток направляется через землю к заземлённым нейтралям трансформаторов и возвращается в фазы сети, причем появление токов нулевой последовательности возможно только в сети, где имеются трансформаторы с заземлёнными нейтралями.
Распределение токов нулевой последовательности при однофазном к.з. представлены на рис. 4-2.
Рис.4-2 Распределение токов нулевой последовательности при 1ф. к.з. а) при заземлении нейтрали с одной стороны линии; б) при заземлении нейтралей с обеих сторон линии; в) при заземлении нейтралей в сети ВН и НН; г) при к.з. в сети с АТ. МТЗ нулевой последовательности представлена на рис. 4-3. Рис.4-3. Схема МТЗ нулевой последовательности. Токовое реле 1 включается на фильтр токов нулевой последовательности или в нулевой провод трансформаторов тока, соединенных по схеме полной звезды. Реле времени 2 создаёт выдержку времени, необходимую по условию селективности. При междуфазных к.з. без земли, а также при симметричной нагрузке защита не действует, поскольку в этих режимах сумма токов и токI0 отсутствует. МТЗ нулевой последовательности имеет важное преимущество по сравнению с обычной МТЗ, так как не реагирует на нагрузку и поэтому имеет высокую чувствительность. Для исключения действия защиты нулевой последовательности от токов небаланса из‑за имеющих место погрешностей ТТ от намагничивающих токов, величину тока срабатывания пусковых токовых реле защиты необходимо выбирать больше тока небаланса. Для ограничения тока небаланса необходимо работать в ненасыщенной части характеристик намагничивания ТТ и иметь одинаковые токи намагничивания во всех фазах. Чтобы обеспечить эти условия, ТТ питающие защиту должны:
Таким образом, ток срабатывания МТЗ нулевой последовательности выбирается исходя из 2-х условий: по условию надёжного срабатывания защиты при к.з. в конце следующего участка цепи; по условию отстройки от токов небаланса:
Определяющим обычно является второе условие: (4-3) Время срабатывания МТЗ нулевой последовательности выбирается по условию селективности на ступень t больше времени срабатывания защиты предыдущего участка
Выбирая выдержку времени необходимо учитывать, что защита нулевой последовательности может не действовать при к.з. за трансформатором, если при этом в защите ток 3I0=0. Чувствительность защиты характеризуется коэффициентом чувствительности:
Для ускорения отключения к.з. на землю в сетях с односторонним питанием с глухозаземленной нейтралью применяются токовые отсечки нулевой последовательности. Принцип действия их такой же, как и у отсечек реагирующих на фазный ток. Мгновенная отсечка нулевой последовательности отстраиваются от максимального тока нулевой последовательности при к.з. на землю на шинах противоположной подстанции: (4-4) Отсечка нулевой последовательности с выдержкой времени отстраивается по току и времени от мгновенной отсечки нулевой последовательности предыдущей линии:
Зона действия находится графически по точке пересечения кривой с прямойIс.з. (Рис. 4-4). Рис.4-4. Защита линии с помощью ТО нулевой последовательности. Схема отсечки с выдержкой времени аналогична схеме МТЗ нулевой последовательности (Рис. 4-3). Мгновенная отсечка выполняется также, но без реле времени. Ненаправленные ТО нулевой последовательности можно применять также в сети, имеющей заземления нейтралей с 2-х сторон защищаемой линии (для линий с 2-х сторонним питанием) (Рис. 4-5). Рис.4-5. Расчёт Iс.з. мгновенной ТО нулевой последовательности в сети с 2-х сторонним питанием. Большое распространение в сетях с глухозаземлённой нейтралью получила ступенчатая защита нулевой последовательности. Наиболее полноценной является 3-х ступенчатая токовая защита нулевой последовательности, состоящая из мгновенной ТО, токовой отсечки с выдержкой времени и МТЗ нулевой последовательности (Рис. 4-6). Рис.4-6. Принципиальная схема 3-х ступенчатой токовой защиты нулевой последовательности. Выводы:
studfiles.net Компенсация тока замыкания на землюSkip to contentУменьшения емкостного тока замыкания на землю в системах с изолированной нейтралью до значения, при котором гаснет дуга в месте повреждения, достигают заземлением нейтрали генератора или трансформаторов через дугогасящие реакторы, индуктивное сопротивление которых приблизительно равно емкостному сопротивлению системы, то есть ω*L=1/(3*ω*С).Наибольшее распространение получили дугогасящие реакторы, состоящие из сердечника и обмотки, расположенных в кожухе, заполненном трансформаторным маслом. Индуктивность реактора L регулируют изменением числа витков или зазора сердечника. Активное сопротивление реактора r мало по сравнению с индуктивным. | ||||||||||||
|

Если прерыватель замыкания на землю работает неправильно, обратитесь к представителю по продажам или сервисному обслуживанию.
Прерыватель замыкания на землю установлен на аппарате, устройстве обрезки, устройстве кольцевого переплета и устройстве клеевого переплета.
Один раз в год проверяйте функционирование прерывателя замыкания на землю. В нормальном состоянии он находится в положении "Вкл.".
Процедура описывается в иллюстрациях на примере основного аппарата и устройства обрезки.
Выключите основное питание.
Убедитесь, что индикатор основного питания погас.
Откройте переднюю левую крышку и выключите переключатель питания переменного тока.
С помощью шариковой ручки или похожего предмета с заостренным краем нажмите кнопку тестирования прерывателя утечки тока на землю.
Основной аппарат
Устройство обрезки кромок
Проверьте, что прерыватель смещается в положение "Выкл.".
Основной аппарат
Устройство обрезки кромок
Верните прерыватель в положение "Вкл.".
Основной аппарат
Устройство обрезки кромок
Включите переключатель питания переменного тока и закройте переднюю левую крышку.
Нажмите включатель основного питания, чтобы включить основное питание.

Если аппарат при этом не запускается, проверьте, находится ли прерыватель замыкания на землю в положении "Выкл.". Если прерыватель находится в положении "Выкл.", свяжитесь с вашим продавцом или сервисной службой. Не выполняйте сброс прерывателя замыкания на землю самостоятельно.
support.ricoh.com
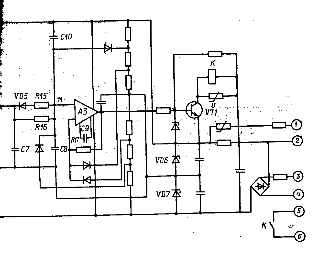
Реле защиты от замыкания на землю
Реле применяется в схемах защиты при замыканиях на землю генераторов, двигателей и линий с малыми токами замыкания на землю. Основные параметры реле: ток срабатывания регулируется в пределах 0,02—0,12 А; коэффициент возврата не менее 0,93; коммутируемое напряжение не более 250В; механическая износостойкость 104 циклов; электрическая износостойкость не менее 103 циклов.

Рис. 9.3.6. Реле защиты от замыканий на землю
Схема реле представлена на рис. 9.3.6.Измерительный орган реле содержит промежуточный трансформатор ТА и резисторы R2—R7, которые вместе с выключателями SB1—SB5 служат для дискретной регулировки тока срабатывания. При отключенных выключателях ток срабатывания реле минимален. По мере включения R3—R7 уменьшается напряжение на выходе операционного усилителя А1 и ток срабатывания увеличивается. .Диоды VD1—VD4 служат для ограничения сигнала на входе А1. При большом входном сигнале
трансформатор ТА насыщается и его входное сопротивление падает. Резистор R1 ограничивает ток в цепи трансформатора. ТА.

Рис. 9.3.6. Реле защиты от замыканий на землю (продолжение)
Операционный усилитель А1 работает как активный фильтр. Многоконтурная отрицательная обратная связь с помощью резисторов R8, R9, R10 и конденсаторов CI, C2 позволяет отфильтровать высшие гармоники в сигнале и оставить основную частоту 50 Гц.
Сравнивающая часть реле состоит из порогового элемента на операционном усилителе А2, время-измерительной цепи VD5, R15, R16, С8 и триггера Шмидта на операционном усилителе A3. Конденсаторы СЗ—С10 служат для стабилизации работы усилителя, исключая его самовозбуждение. Резистор R17 создает положительную обратную связь. Выходной каскад реле выполнен на транзисторе VT1, в цепь коллектора которого включено быстродействующее электромагнитное реле К.
Питание схемы осуществляется от сети постоянного тока (контакты 4, 1 при напряжении 220 В и 4, 2 при напряжении 110 В) или от сети переменного тока 100 В (контакты 4, 3). С помощью стабилитронов VD6 и VD7 получаются два симметричных напряжения —15 В и +15 В для питания операционных усилителей.
Порог срабатывания порогового элемента определяется резисторами R11—R14.
Настройка реле на минимальную уставку производится резистором R11.
Похожие статьи:
poznayka.org







При компенсации емкостного тока Iз в месте замыкания индуктивным током IL система может длительно работать с замкнутой на землю фазой, при этом напряжения во всех точках сети имеют те же значения, что и в системе с изолированной нейтралью. показателем эффективности компенсации является отношение количества замыканий на землю, не развившихся в КЗ, к общему числу замыканий. В компенсированных системах этот показатель составляет 0,6-0,9, а в системах с изолированной нейтралью 0,3. В системах с компенсацией емкостного тока на землю не требуется релейная защита от замыкания на землю, действующая на отключение линий, трансформаторов и генераторов, а также электродвигателей, подключенных непосредственно к сети, а достаточно установки избирательной сигнализации. Исключение составляют системы напряжением 3-35 кВ с повышенной опасностью обслуживания оборудования, в которых замыкания на землю должны избирательно отключаться. К ним относятся системы электроснабжения шахт, открытых горных разработок, торфяных разработок и др. компенсация емкостных токов обладает следующими выгодными для эксплуатации качествами: уменьшает ток через место повреждения до безопасного значения, обеспечивая этим надежное дугогашение; облегчает требования к ЗУ; снижает скорость восстановления напряжения на поврежденной фазе, вследствие чего вероятность повторного зажигания дуги и возникновения коммутационных напряжений мала; при сохранении устойчивой дуги уменьшает вероятность перехода замыкания на землю в многофазное КЗ и др.Системы с изолированной нейтралью и нейтралью, заземленной через реактор, относят к системам с малыми токами замыкания на землю (Iз<500 А). Рассмотрим систему, нейтраль которой заземлена через дугогасящий реактор (рисунок а)). Если I(L)=0, y1=y2=y3, Ua+Ub+Uc=0, то векторная диаграмма напряжений и токов системы с компенсацией емкостного тока на землю не отличается от векторной диаграммы для системы с изолированной нейтралью (рисунок в)). В случае однофазного замыкания на землю, например фазы А, токи и напряжения в фазах можно определить по формулам из статьи: Система с изолированной нейтралью.






