Содержание
Схемы с испытательными блоками в цепях ТТ и ТН
В данной статье речь пойдет о схемах с испытательными блоками в цепях ТТ и ТН.
Будет рассмотрено как правильно нужно использовать испытательные блоки в токовых цепях и цепях напряжения.
Рассмотрим на примере схемы с испытательными блоками типа FAME от компании «PHOENIX CONTACT».
Испытательные блоки в токовых цепях
Согласно ПУЭ 7-издание пункт 3.4.16:
В пункте 3.4.7 говорится следующее:
Из этого следует, что токовые цепи при выполнении каких-либо проверок и испытаний нужно ОБЯЗАТЕЛЬНО закорачивать токовые цепи с использованием испытательных блоков.
Презентация испытательных блоков типа FAME (PHOENIX CONTACT)
Испытательные блоки типа БИ-4 и БИ-6 (ЗАО «ЧЭАЗ»)
Недостатки испытательных блоков типа POCON (Weidmuller)
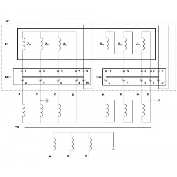
Испытательные блоки в цепях напряжения
Отличительной особенностью использования испытательных блоков в цепях ТН от токовых цепей, является отсутствие закорачивающих перемычек. В противном случае такая установка перемычек приведет к КЗ. Чтобы отключить устройство, достаточно лишь снять рабочую крышку, при этом рабочие контакты разомкнутся.
Рабочий режим (нормальный рабочий режим эксплуатации)
В этом режиме рабочая крышка установлена в базовый блок, рабочие контакты: 2-1, 4-3, 6-5, 8-7, 10-9 — замкнуты, при этом закорачивающие перемычки в цепях ТН – не используются.
Режим отключенного состояния ТН
В этом режиме рабочая крышка снята, рабочие контакты: 2-1, 4-3, 6-5, 8-7, 10-9 – разомкнуты.
Режим наладки и испытаний (режим тестирования)
В режиме наладки в базовый блок вставляется контрольная крышка с установленными тестовыми гнездами. Используя дополнительные перемычки можно реализовать различные тестовые схемы.
Ниже представлены различные примеры подключений испытательных блоков к трансформаторам напряжения.
Всего наилучшего! До новых встреч на сайте Raschet.info.
Поделиться в социальных сетях
Сделано в России
28.01.2021
В 2017 году компания «Феникс Контакт РУС» открыла производство на территории России.
Номенклатура выпускаемых изделий включает в себя устройства защиты от импульсных перенапряжений, электротехнические клеммы, источники питания, промежуточные реле и испытательные блоки.
Компания «Феникс Контакт РУС» сертифицирована для выпуска стандартного и взрывобезопасного оборудования в соответствии с международными требованиями и требованиями Технического регламента Таможенного союза (ТР ТС).
Скачать брошюру «Сделано в России»
Phoenix Contact — Сделано в России!
Смотреть на YouTube-канале
Испытательные блоки FAME
В мае 2020 года открыто производство испытательных блоков серии FAME на заводе «Феникс Контакт» в России.
На первом этапе локализовано производство базовых блоков FAME. Производство рабочих FAME-WP и тестовых крышек FAME-TP(C) в России будет запущено на следующих этапах.
В подтверждение факта производства блоков FAME в России, оформлен новый сертификат ТРТС, срок действия до 2025 года.
- Скачать брошюру по блокам FAME
Преимущества для Вас
- Широкий выбор испытательных блоков с различным количеством контактов.
- Безопасность – токоведущие части внутри пластикового корпуса.
- Простой монтаж – все необходимое есть в самом блоке.
- Удобное подключение проводов – надежные винтовые зажимы.
- Привычный в эксплуатации – сохранена логика работы блоков БИ.
- Компактные размеры – позволяет установить больше блоков в горизонтальный ряд.
- Наглядность закорачивающих перемычек в цепях трансформаторов тока.
Электротехнические клеммы
Производство клемм Phoenix Contact в России располагает самыми современными автоматизированными машинами для создания винтовых и пружинных клемм. Данное оборудование стандартизовано для всех производственных площадок компании по всему миру. Это означает высокую производительность и гарантию стабильного качества выпускаемых в России клемм.
- Скачать сертификат ТР ТС на клеммы
Преимущества для Вас
- Винтовые клеммы серии UT – запатентованная технология Reakdyn защиты от самопроизвольного ослабевания винтового зажима.
- Пружинные клеммы серии ST – защита при вибрации для многожильных проводов, даже без гильзовых наконечников
- Корпус клемм из полиамида 6.6, не поддерживающего горение (класс V0).
- Российский сертификат взрывобезопасного исполнения (Ex e).
- Диапазон температур эксплуатации от -60 до +130 °С.
Номенклатура изделий
Скачать актуальный список изделий
Видеоматериалы
Лабораторные испытания клемм Phoenix Contact.
Смотреть на YouTube-канале
Источники питания КВНТ
Серия КВНТ – это компактные, вибростойкие, низкотемпературные источники питания, обладающие всеми необходимыми для российских условий эксплуатации функциями и характеристиками. Проходят 100% тестирование.
-
Скачать презентацию по КВНТ [PDF]
Преимущества для Вас
- Универсальный AC/DC вход с электрической прочностью до 300 В АС.
- Диапазон температур эксплуатации от -25 до +70 °С, типовые испытания на запуск при -40 °С.
- Уникальная конструкция с высокоэффективным теплоотводом обеспечивает надежность и длительный срок службы.
- Параллельное подключение и сигнальный контакт DC OK.
- Гарантия 5 лет на источники питания и диоды серии КВНТ.
Расширенная гарантия на серию КВНТ
Phoenix Contact увеличивает гарантийный срок на серию источников питания и диодов КВНТ с 3 до 5 лет.
Скачать листовку
Видеоматериалы
Лабораторные испытания КВНТ: ЭМС, климатическая камера и вибростенд.
Смотреть на YouTube-канале
Устройства защиты от импульсных перенапряжений (УЗИП) серии TT
Серия TT – это УЗИП, предназначенные для защиты от импульсных перенапряжений сигнальных и интерфейсных цепей в системах автоматики и телемеханики. Эти устройства проверены многолетним опытом применения в нефтегазовой и химической промышленности в России.
- Скачать презентацию по УЗИП серии ТТ
Преимущества для Вас
- Компактный дизайн: ширина 6,2 мм.
- Удобство монтажа: отдельная клемма для подключения экрана кабеля.
- Не требуют отдельного провода для подключения к защитному заземлению: подключение к шине PE через ножевой контакт с DIN-рейкой.
- Возможность сквозной маркировки установленных в ряд УЗИП: каждая выходная клемма может быть промаркирована пользователем самостоятельно.
- Высокие значения разрядных токов: In(8/20)=5 кА, Imax(8/20)=10 кА в каждой линии.
- Короткие сроки изготовления и поставки.
- Сертификат российского производства.
Интерфейсные релейные модули PLC INTERFACE
PLC INTERFACE представляет собой семейство компактных релейных модулей для построения интерфейсного уровня систем управления. Семейство включает в себя как стандартные версии реле с 1-им или 2-мя перекидными контактами, так и специализированные исполнения, способные решить любую из задач коммутации цепей.
- Скачать сертификат соответствия ТР ТС
Преимущества для Вас
- Компактное исполнение – ширина модулей 6,2 или 14 мм.
- Возможность заказа модулей реле в сборе или отдельными позициями.
- Варианты модулей с электромеханическими или твердотельными реле.
- Вариативность технологий подключения: винтовые зажимы или зажимы Push-in.
- Специальные исполнения модулей: для подключения полевого оборудования, со встроенными фильтрами защиты от наводок и т.д.
- Простое и быстрое распределение потенциала посредством ножевых перемычек.
CT Тестирование с помощью FAME | Юго-Восточная Азия
Клеммная колодка с тестовым размыкателем может быть для вас не чужим термином, особенно если вы работаете в энергетической отрасли и имеете дело с распределительными устройствами. Это наиболее распространенный компонент, который вы увидите в панели реле управления, который позволяет вам выполнять тестирование и короткое замыкание трансформаторов тока. В Phoenix Contact мы используем различные технологии подключения в нашей серии тестовых клемм с размыкателем, а именно винтовые зажимы, пружинные зажимы и зажимы push-in.
Рис. 1: (слева направо) Винтовое соединение, пружинное соединение и вставное соединение
Клеммы с тестовым размыкателем обеспечивают гибкость для пользователя, а также экономию места благодаря своей модульной конструкции. дизайн, он все еще имеет небольшой недостаток, когда дело доходит до тестирования. Во время функционального тестирования трансформаторов тока и преобразователей напряжения часто требуется выполнение коммутационных операций в нескольких точках, и, таким образом, существуют ограничения, когда дело доходит до таких ситуаций, когда используются модульные клеммные колодки. Со всеми ограничениями и ограничениями, связанными с использованием модульной клеммной колодки с тестовым размыкателем, это открывает больше возможностей для группы разработчиков продукта, чтобы исследовать творческие проекты для решения проблемы, сохраняя при этом преимущества модульной клеммной колодки.
Рис. 2: Штекер FAME и клеммная колодка
Если вы обнаружите, что что-либо из вышеперечисленного вам незнакомо, не беспокойтесь! Я снабдил вас качественными сообщениями нашего специалиста по продуктам. В этом посте вы узнаете об основах принципа «сделай до размыкания» при тестировании ТТ, а также о причинах использования тестовых клеммных блоков с размыкателем в таких приложениях. Далее мы подробно рассмотрим FAME, начиная с его основных операций и заканчивая различиями между FAME 1, 2 и 3. Эти несколько постов заложат основу для вашего понимания области тестовых систем отключения.
Несмотря на то, что FAME создан для испытаний ТТ, и было разработано несколько версий FAME для различных требований к испытаниям реле в разных странах, мы пришли к выводу, что есть место для других приложений, которые может предложить FAME.
Рис. 3: Схема группового разъединителя в панели защиты
Эта вторичная развязка, также называемая групповым разъединителем, используется для отключения размыкающего контакта в группе.
- Состоит из двух компонентов: штепсельной вилки и клеммной колодки.
- При нормальной работе вилка питания вставляется в клеммную колодку, образуя замкнутый контакт между клеммной колодкой и отключающей катушкой
- При проведении технического обслуживания вилка питания будет отсоединена от клеммной колодки, оставив открытый контакт.
Рис. 4: (Слева направо) Вилка питания и клеммная колодка
Это приложение в Малайзии является хорошим примером и ссылкой на то, как FAME можно адаптировать для различных приложений, отличных от его первоначальной цели. Если у вас есть яркая идея о том, как вы можете использовать FAME, читая этот пост, мы приглашаем вас связаться с нами. Кто знает, ваша идея может стать следующим новым приложением нашей FAME!
FAME CHECK® — Dexsil
Набор для тестирования на месте для количественного определения % биодизельного топлива, смешанного с дизельным топливом
Тестовые наборы FAME CHECK® предназначены для количественного определения количества биодизельного топлива, смешанного с дизельным топливом.
Варианты покупки
Проверка славы 10%
Проверка славы 20%
Проверка славы 60%
Минимальный заказ: 10.
| Кол-во | Цена/Единица | Скидка | Итого |
|---|---|---|---|
| 10 комплектов | 14,61 $ | 146,10 $ | |
| 20 комплектов | 12,92 $ | (1,69 доллара США) | 258,40 $ |
| 80 комплектов | 11,24 $ | (3,37 доллара США) | 899,20 $ |
| 400 комплектов | 10,40 $ | (4,21 доллара США) | 4 160,00 $ |
| 2000 комплектов | 9,83 $ | (4,78 доллара США) | 19 660,00 $ |
Информация о продукте
- Аналиты
- Биодизель
- Матрицы
- Дизель, мазут, биодизель
- Методы обнаружения
- Количественное кислотное титрование
- Уровни действий
- 0–10 В %, 0–20 В %, 0–60 В %
- Время анализа
- 15 минут
- Каталожный номер
- ФМ-010
Видеоролики
Добавить комментарий